Short Description:
GW4 series Outdoor High Voltage disconnectors are 3 phase AC 50Hz high voltage switchgears. They are used in no-load condition to switch off the electric circuit and isolate electrical equipment, such as high voltage bus, circuit breaker etc, and high voltage line up to 252kV power system. The disconnecting switch can be divided into: No grounding, Single grounding and Double Grounding, and mechanical interlock is set between the main blade and earthing switch.
Description
GW4 series Outdoor High Voltage disconnectors are 3 phase AC 50Hz high voltage switchgears. They are used in no-load condition to switch off the electric circuit and isolate electrical equipment, such as high voltage bus, circuit breaker etc, and high voltage line up to 252kV power system. The disconnecting switch can be divided into: No grounding, Single grounding and Double Grounding, and mechanical interlock is set between the main blade and earthing switch.
This product is double pole structure, mainly consisting of frame, porcelains and conductive parts. Two porcelain poles of each phase are mounted respectively on bearing holders of both ends of the frame, and connected by cross links for horizontal rotation. Each of the conductive blade is divided into two parts fixed on the two supporting porcelains, and the contact part is right in the middle. It has pollution- proof type and plateau type.
Environment condition
- Ambient temperature: max +40°C min -35°C
- Altitude: ≤3000m
- Wind pressure: ≤700Pa (equals to wind speed 34m/s)
- Air contamination degree: IV degree
- Earthquake intensity: ≤8 degree
- No corrosive or flammable gas
Technical Data
| 1 | Rated Voltage (kV) | 40.5 | 126 | 252 | ||||||||||
| 2 | 1min power frequency withstand voltage (Effective value) kV | To Ground | 95 | 230 | 460 | |||||||||
| Between Fracture | 115 | 245 | 460+145 | |||||||||||
| 3 | Lightning Impulse withstand voltage (Peak value) kV | To Ground | 185 | 550 | 1050 | |||||||||
| Between Fracture | 215 | 630 | 1050+200 | |||||||||||
| 4 | Mechanical life (Times) | 2000 | ||||||||||||
| 5 | Rated Current (A) | 400 | 630 | 1000 | 1250 | 1600 | 2000 | 3150 | 4000 | |||||
| 6 | Rated short time withstand Current (kA) | 20 | 20 | 31.5 | 31.5 | 40 | 40 | 50 | 50 | |||||
| 7 | Rated withstand current (Peak value) kA | 40 | 50 | 80 | 80 | 100 | 100 | 125 | 125 | |||||
| 8 | Rated connect machine load (N) | Horizontal vertical | 750 | 1000 | 1000 | |||||||||
| Horizontal transverse | 500 | 750 | 750 | |||||||||||
| Vertical force | 750 | 1000 | 1000 | |||||||||||
| 9 | Creepage distance (mm) | 1013-2256 | 1813-2250 | 3150-3906 | ||||||||||
| 10 | Manual operating mechanism | No grounding | CS11(F) | |||||||||||
| Single grounding | CS8-6D(F) | |||||||||||||
| Double grounding | Main knife CS14G(F); Earth knife CS11(F) | |||||||||||||
| Control loop voltage (V) | AC220, DC110, DC220 | |||||||||||||
| 11 | Motor operating mechanism | Model | CJ6 | |||||||||||
| Motor voltage (V) | AC220, DC380, DC220 | |||||||||||||
| Control loop voltage (V) | AC220, DC380, DC220 | |||||||||||||
| Switching time (s) | 6±1 | |||||||||||||
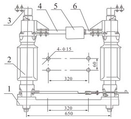
Outline & Mounting Dimensions


1.Base 2. post insulator 3. Terminal
4. Static conducting tube 5. Waterproof cover 6. Dynamic conducting tube