Product details
■Product Overview
The HMRQ online soft starter cabinet is the latest research and development product of our company — a thyristor-based all-in-one motor soft starter cabinet. There are no AC contactors inside the cabinet, and switching is contactless, making it suitable for reliable operation in harsh environments such as smoke, dust, and sand. This product has a wide operating voltage range and is suitable for low-voltage operation (recommended voltage >380V). The product features a three-in (RST connects to power) and three-out (UVW connects to motor) structure, which is simple and convenient to wire. The product comes with built-in motor protection functions, with up to 21 software parameters, capable of meeting the needs of most application scenarios. When using this product, ensure good ventilation and heat dissipation around it. The product is widely used in occasions such as conveyor equipment, fans, water pumps, and compressors.
■Main Functions
Since it does not use bypass contactors, the product price is cheaper and maintenance costs are lower. It can adapt to reliable operation in harsh environments such as smoke, dust, and sand. The weight of this cabinet is only one-third of a self-coupled voltage reduction starter cabinet, and its volume is only one-half. The cabinet has complete protection functions, reliable performance, a long service life, and high economic benefits.
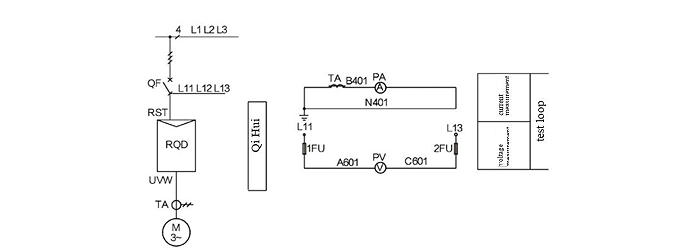
■Motor Starting Control Cabinet Wiring Diagram

■Product Appearance and Installation Dimensions
